Nuevos diseños en ascenso: conocimientos prácticos sobre ascensores
Una mirada al interior de la compleja máquina que mueve a las personas arriba y abajo de los pisos.
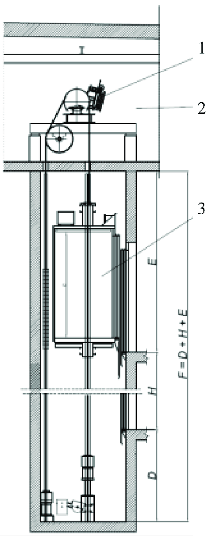
La instalación de ascensores es un negocio maduro, sin embargo, se están produciendo cambios a medida que el espacio de oficina y la energía se vuelven costosos. La mayoría de los edificios de más de cuatro pisos utilizan ascensores de tracción. Un motor en la parte superior del eje hace girar una polea, esencialmente una polea, que sube y baja los cables conectados a la cabina y un contrapeso. Los engranajes conectan el motor y la polea en sistemas más lentos. Los ascensores más rápidos no tienen engranajes; la polea está acoplada directamente.

De cualquier manera, la maquinaria suele ocupar una habitación completa por encima o al lado de la parte superior del eje, ocupando lo que podría ser un espacio privilegiado en un ático. Pero las innovaciones permiten a los constructores apretar el equipo en la cabeza del eje o contra una pared lateral. “Estamos cambiando constantemente a diseños sin engranajes y sin sala de máquinas”, dice Jeff Blain, gerente senior de proyectos en Schindler Elevator en la ciudad de Nueva York. Algunas empresas están utilizando motores sin engranajes de imanes permanentes, que son más pequeños que los diseños tradicionales pero se han vuelto igual de poderosos. Y Otis Elevator en Farmington, Connecticut, ha cambiado de cables de acero enrollados a correas planas de acero, lo que permite reducir el tamaño de la polea y el motor.

Al mismo tiempo, los fabricantes están aprovechando la gravedad para ahorrar energía. Un contrapeso elegido para pesar tanto como una cabina con un 40 a un 45 por ciento de carga completa reduce la potencia del motor necesaria. Pero cuando un ascensor vacío debe subir, la caída del contrapeso más pesado proporciona demasiada energía; Las resistencias masivas disipan el exceso de energía en forma de calor. Se necesita la misma resistencia cuando desciende una cabina completa (más pesada que el contrapeso). Sin embargo, los nuevos accionamientos regenerativos convierten la energía desperdiciada en electricidad. “Introducimos esa energía en la red eléctrica del edificio para su reutilización”, dice Leandre Adifon, vicepresidente de ingeniería y desarrollo de sistemas de ascensores en Otis.

La tecnología de despacho mejorada está aumentando la eficiencia humana en edificios con múltiples pozos. Los edificios de oficinas están abarrotando a más personas en los pisos existentes, pero el aumento de la población puede ralentizar el servicio de ascensores. Para compensar, los instaladores están reemplazando los botones pulsadores "arriba" y "abajo" en los vestíbulos con pantallas de visualización numeradas o paneles táctiles. Los posibles pasajeros presionan el número de piso que desean, y una computadora les dice qué ascensor tomar, agrupando a las personas que van al mismo piso o al piso vecino. La computadora envía los ascensores para que cada uno viaje a un pequeño conjunto de pisos cercanos, en lugar de viajar aleatoriamente hacia arriba y hacia abajo. El esquema reduce el tiempo de espera y el consumo de energía.

Sabías ...
HECHO RÁPIDO:
Toshiba Elevator afirma tener el elevador de pasajeros más rápido, instalado en Taipei 101, el edificio de 101 pisos en Taiwán. La velocidad máxima de ascenso es de 1010 metros (3,314 pies) por minuto o aproximadamente 100 pisos en 26 segundos. Un sistema de soplado ajusta la presión atmosférica dentro de la cabina para minimizar los ruidos de oídos.
SEGURIDAD PRIMERO:
Un cable de ascensor está clasificado para contener el 125 por ciento del peso máximo de la cabina completa, y cinco o más cables suspenden la mayoría de las cabinas. La cuerda de acero se ha vuelto tan fuerte que un diámetro de media o cinco octavos de pulgada es suficiente para una carga de 3,500 libras, típica en edificios de mediana altura. Las correas de acero nuevas, planas y de alta resistencia de resistencia similar pueden tener menos de un cuarto de pulgada de espesor.
TAN INCLINADO:
Algunos ascensores fabricados por Otis se mueven lateralmente a medida que ascienden, para seguir el contorno de estructuras inusuales. Los cables en ángulo tiran de los taxis a lo largo de rieles inclinados a 39 grados (desde la horizontal) en el hotel piramidal Luxor en Las Vegas y a 30 grados en la Torre Eiffel en París.
Nota: Este artículo se imprimió originalmente con el título," Nuevos diseños subiendo"







